Sleep / Duwboot 15.42 met CBB hoofdfoto: 1

Sleep / Duwboot 15.42 met CBB

Sleep / Duwboot 15.42 met CBB
Sleep / Duwboot 15.42 met CBB
Sleep / Duwboot 15.42 met CBB
Sleep / Duwboot 15.42 met CBB
+44
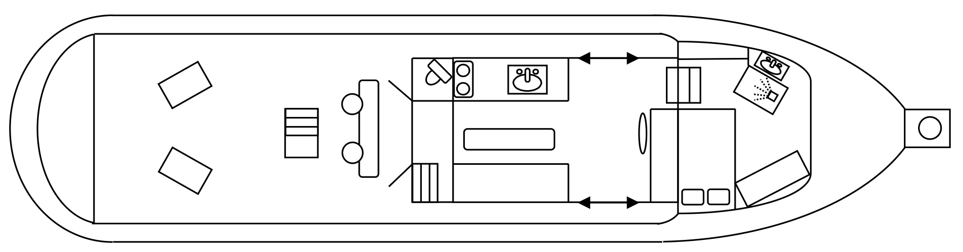
Deze goed onderhouden sleepboot annex duwboot met bijbehorende sleep- en duwcertificaten is in 1922 gebouwd. Het hart van deze boot is een 300 pk KMD/Mercedes CCR2 motor. In de duwsteven zit een elektrische spudpaal met een lengte van circa 4 meter onder het vlak. Ze is voorzien van de nodige navigatie apparatuur maar ook een Alphatron rivier automatische piloot ontbreekt hier niet. Via het luik op de stuurhut is het mogelijk om de boot ook vanaf het dak te besturen met behulp van de afstandsbediening. Verder is ze onder andere uitgerust met een beting, twee elektrische koppellieren met dyneema, een rubberen duwsteven en een hydraulisch uitschuifbare radarmast. Binnen in de stuurhut bevindt zich een ruime zitbank met tafel, direct verbonden met het kombuis dat onder meer beschikt over een inductiekookplaat, koelkast en magnetron. In de voorroef vindt u een 2-persoons bed en een eenvoudige douchecabine met wastafel. Deze handzame sleep- / duwboot is zeer geschikt voor de natte aannemer. Dit is naar onze mening een uitgelezen kans om voor een zeer aantrekkelijke prijs een gecertificeerde sleep- / duwboot te bemachtigen.

aanwezig

langsscheeps
2-pits kooktoestel, inductie
formica werkblad
roestvast stalen wasbak
mengkraan met warm & koud stromend water

hydraulisch, stuurhendel &, stuurwiel, joystick, afstandsbediening

handreling

radarmast, antennebeugel, aluminium mast
ja, hydraulisch

12 / 24 / 230 / 400 Volt, 230 Volt walstroom aansluiting
aanwezig
aanwezig
2x zonnepaneel

1x 1000 liter, stalen tank(s), gecementeerde tank(s)
Akai flatscreen TV, Blaupunkt Hamburg 420BT radio/CD/MP3 speler + Bluetooth

hydrofoor
aanwezig, 230 Volt
geen gas aan boord

€ 59.000,-

> Financier de Sleep / Duwboot 15.42 met CBB <

Lengte (m):
15.42
Breedte (m):
3.93
Diepgang (m):
1.79
Doorvaarthoogte (m):
3.55
Bouwjaar:
1922

Deel deze advertentie

Contacteer verkoper

Recent bekeken

Whaly 380

Whaly 380

3.8m
PVC
25,-
Meer informatie